Автомат отрезной 8Г663-100
| Модель: | ![]() |
8Г663-100 |
| Изготовитель: | ![]() |
Россия |
Автомат отрезной круглопильный пила Геллера 8Г663-100 предназначен для разрезания дисковыми пилами черных и цветных металлов круглого, прямоугольного и фасонного сечений. Комплектуется механизированным устройством для складирования и поштучной выдачи круглого материала и автоматическим столом выгрузки.
Работа отрезного станка основана на движении пильного диска. В зависимости от типа детали, подвергающейся обработке, используются разные типы дисков и разная частота оборотов. Движения подачи здесь не происходит — деталь прочно крепится к столу, во избежание неровного отреза в том случае, если она будет болтаться. На подготовительных этапах работы происходит тщательная проверка.
Сначала крепится деталь и проверяется прочность этого крепления. Затем проверяется прочность крепления пильного диска, его целостность и острота зубцов. Затем диск запускается. Процесс резания начинается только после того, как диск наберет нужные обороты. В данном случае этот момент является очень важным, поскольку не до конца «разогнанный» диск также может сделать неровный отрез и повредить края заготовки.
Технические характеристики 8Г663-100 | |
|---|---|
| Характеристика | Значение |
| Диаметр пилы, мм | 800 |
| Диаметр отрезаемой заготовки, мм | 80...285 |
| Расстояние от низа основания станка до опорной поверхности для заготовки (без подкладок), мм | 800 |
| Наибольшая величина настройки подачи бабки пильного диска, мм/мин. | 800 |
| Скорость отвода бабки пильного диска, м/мин, не менее | 3,5 |
| Наибольшее перемещение бабки пильного диска, мм | 320 |
| Предельная длина устанавливаемых заготовок, мм | 6000 |
| Производительность насоса охлаждения, л/мин | 22 |
| Мощность, кВт | 7,5 |
| Габаритные размеры (ДхШхВ), мм | 2640x2400x1690 |
| Масса 8Г663-100 , кг | 3760 |
Габарит рабочего пространства отрезного станка 8Г663
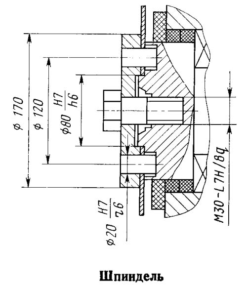
Посадочные и присоединительные базы отрезного станка. Шпиндель пилы 8Г663
Комментарии и вопросы:
Комментариев пока нет, но ваш может быть первым.Разметить комментарий или вопрос


